AutonetMagz.com – Per saat ini, Toyota punya 3 mobil kencang yang semuanya ada di bawah binaan Toyota Gazoo Racing atau GR. Ada Toyota GR Supra, Toyota 86 dan Toyota GR Yaris, namun jangan lupa bahwa jelang diresmikannya kelas Hypercar di ajang WEC nanti, Toyota sudah menyatakan diri bahwa mereka akan turut serta di kelas itu. Artinya, Toyota akan membuat hypercar dengan teknologi mesin turunan mobil balap WEC.
Sosok mobil yang kita bicarakan ini sebenarnya sudah pernah muncul dalam rupa mobil konsep Toyota GR Super Sport. Selain mobil konsep yang mejeng di pameran, Toyota sudah melepas beberapa prototipe ke sirkuit untuk pengujian bersama dengan bos Toyota, Akio Toyoda. Nah, baru-baru ini, GR86.org mendapati bahwa di Kantor Paten dan Hak Cipta Amerika Serikat atau USPTO terdapat paten yang bisa diendus sebagai niat Toyota dalam membuat hypercar.

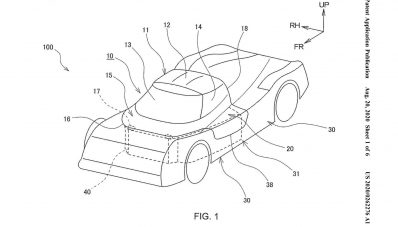
Paten yang kita lihat ini adalah paten untuk mekanisme buka-tutup kanopi yang diilustrasikan akan jadi akses keluar masuk sebuah mobil. Untuk merek seperti Toyota yang biasanya paling jago membuat mobil-mobil normal, kembalinya mereka mendesain pintu-pintu dengan akses bukaan aneh-aneh tentu sangat menarik. Terakhir kali Toyota punya pintu yang bukaannya aneh-aneh adalah di mobil Toyota Sera.
Pintu kanopi yang kita bicarakan ini kira-kira membukanya sama dengan mobil konsep SAAB Aero X. Selain daftar paten pintu kanopi ini, Toyota juga mematenkan kancing kunci pintu di bagian kiri dan kanan mobil. Paten ini masih memperlihatkan gambaran yang sangat kasar, jadi sebaiknya kita harap-harap cemas saja soal kemunculan hypercar Toyota. Apalagi dengan kondisi dunia yang seperti ini, memperkenalkan mobil mahal dan kencang risikonya makin besar.

Berkaca kepada konsep Toyota GR Super Sport, ini akan jadi hypercar pertama Toyota yang menjadi selebrasi kemenangan Toyota di kelas LMP1 WEC. Mesin yang dipakai mobil ini konon adalah mesin 2.400 cc V6 twin turbo plus hybrid yang sanggup memuntahkan tenaga hingga kurang lebih 1.000 hp. Jarang-jarang kan kita dengar Toyota 1.000 hp? Supra modifan tidak termasuk ya, kita bicara yang standar pabrik. Apa opinimu? Sampaikan di kolom komentar!
Read Next: Lexus ES 2021 : Dapat All Wheel Drive Dan Ada Edisi Spesial



