AutonetMagz.com – Meski sudah punya mobil listrik Mazda MX-30, Mazda merupakan satu dari sekian merek yang masih percaya akan kecantikan dan pesona mesin bakar dalam. Bahkan dalam rencana Mazda ke depannya, mereka berniat membuat sasis RWD baru, mesin 6 silinder segaris dan transmisi baru. Nah, blog bernama T’s Media sudah menemukan pendaftaran paten Mazda yang nampaknya bermuara ke mesin dan transmisi baru.
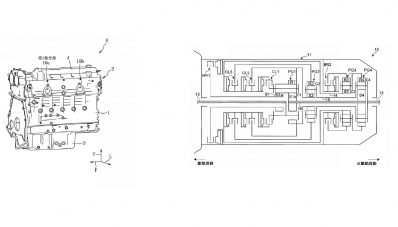
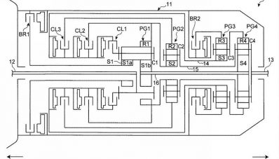
Paten pertama yang didaftarkan adalah transmisi 8 percepatan baru. Memang, ini jadi sebuah pengembangan bagus daripada transmisi 6 percepatan Mazda yang sudah mulai menua, tapi transmisi 8 percepatan saat ini tidaklah spesial. BMW pakai, Mitsubishi pakai, Audi pakai, Jaguar pakai, bahkan Toyota juga pakai. Justru yang lebih menarik ada pada gambar paten yang menggambarkan sebuah komponen untuk mesin 6 silinder.

Melalui gambar ini, Mazda nampaknya ingin mengembangkan konsep SkyActiv mereka dalam wujud mesin baru ini. Setelah mesin baru SkyActiv-X, nampaknya Mazda berusaha membuat mesin 6 silinder yang lebih modular. Belum diketahui berapa kapasitas mesinnya, namun biasanya mesin 6 silinder punya kapasitas di kisaran 3.000 cc. Mesin ini juga nampaknya akan terpasang secara longitudinal.
Mesin longitudinal biasanya ditemukan di mobil-mobil RWD dan AWD, jadi mungkin memang benar adanya jika Mazda sedang membuat mobil RWD baru. Rumor mengenai Mazda 6 baru sebenarnya sudah mulai berhembus, tapi belum diketahui apakah ia tetap FWD atau jadi RWD. Andai jadi, sebenarnya kami lebih berharap Mazda Vision Coupe yang cantik itu jadi nyata dan dikawinkan dengan mesin inline 6, transmisi baru dan RWD.

Mazda sendiri dulu sebenarnya punya mesin 6 silinder, tepatnya mesin 3.700 cc V6 yang dulu dikembangkan bersama dengan Ford dan terpasang di Mazda CX-9 lama. Selain dari mesin 6 silinder dan transmisi baru ini, Mazda diketahui sedang mempelajari teknologi mild hybrid dan plug-in hybrid buat beberapa modelnya nanti. Menarik juga langkah Mazda di saat yang lain mulai mundur dari mesin-mesin bersilinder banyak. Apa opinimu? Sampaikan di kolom komentar!
Read Next: GIICOMVEC 2020 Digelar Bulan Maret, 3 Produk Baru Meluncur



