Mazda : Layar Besar di Kabin Itu Norak
0
Comments

Mazda : Layar Besar di Kabin Itu Norak

AutonetMagz.com – Tidak semua mobil baru itu memukau seutuhnya bagi kami. Ada yang wah, namun ada juga yang membuat kami khawatir. Bagi kami, mobil yang baik adalah mobil yang punya keseimbangan antara teknologi mekanikal tradisional dan elektronik modern untuk menjadikannya sebuah benda yang patut dicintai. Terlalu banyak teknologi mekanikal, mo...
Mazda 6 Facelift : Tampilan Baru Plus Mesin Turbo!
0
Comments

Mazda 6 Facelift : Tampilan Baru Plus Mesin Turbo!

AutonetMagz.com – Nama Mazda 6 sudah wara-wiri cukup lama di dunia, namun sayang di Indonesia ia tidak terlalu mentereng gengsinya dibandingkan Camry, Accord dan Teana. Saat Camry bisa jadi mobil pejabat, Mazda 6 malah jadi mobil polisi yang mengawal pejabat yang pakai Camry. Sayang sekali, padahal sedan ini termasuk keren dengan fitur yang kompl...
Mazda Indonesia Resmikan Kehadiran 4 Mobil Sekaligus
0
Comments

Mazda Indonesia Resmikan Kehadiran 4 Mobil Sekaligus

AutonetMagz.com – Beberapa bulan yang lalu, Mazda pernah membuat acara besar-besaran dengan menampilkan hingga 6 mobil sekaligus dalam sebuah acara besar. Keenam mobil itu adalah Mazda 2 facelift, Mazda CX-3, Mazda 5, Mazda MX-5, Mazda 6 Estate dan Mazda 3 hatchback. Meski banyak yang dibawa, yang resmi dijual saat itu baru Mazda 2 facelift dan &...
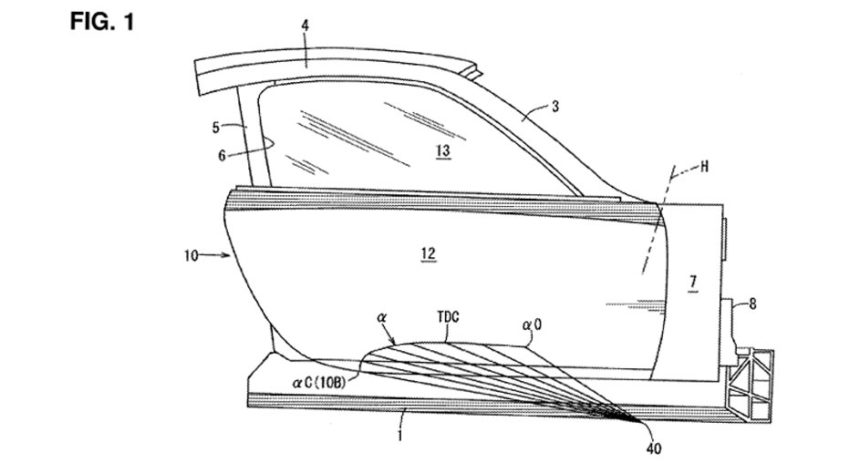
Intip Paten Mazda RX-9 : Pintu Ala Aston Martin?
0
Comments

Intip Paten Mazda RX-9 : Pintu Ala Aston Martin?

AutonetMagz.com – Maju dan mundurnya pergerakan Mazda dalam usaha mengembalikan mesin rotary ke mobil sport generasi baru kadang bikin bingung, namun bukan berarti banyak pihak yang lepas mata gara-gara Mazda terkesan plin-plan. Selain paten desain mesin rotary yang sudah bocor ke publik, kini ada bocoran paten detail lain yang mengindikasikan ha...
Menggebrak Pasar, Mazda Rilis 5 Model Baru
0
Comments

Menggebrak Pasar, Mazda Rilis 5 Model Baru

Jakarta, AutonetMagz.com – Beberapa waktu lalu Mazda Indonesia melakukan peralihan kepengurusan APM dari PT Mazda Motor Indonesia (MMI) menuju PT Eurokars Motor Indonesia (EMI). Dan dibawah payung PT Eurokars Motor Indonesia, Mazda mulai berbenah untuk menunjukkan tajinya di belantika roda empat tanah air. Beberapa bocoran sudah sempat kami ...
Yuk Intip Bocoran Spek Mazda 2 Facelift 2017 Indonesia!
0
Comments

Yuk Intip Bocoran Spek Mazda 2 Facelift 2017 Indonesia!

AutonetMagz.com – Detik ini, Eurokars sudah resmi memegang kendali atas segala tindak-tanduk Mazda di Indonesia, dan sepertinya mereka punya dinamika awal yang bagus untuk sebuah merek yang baru ganti kepengurusan. Salah satu tulang punggung Mazda, yakni Mazda 2 akan mendapat versi facelift-nya tahun ini, dan dipastikan meluncur dalam waktu dekat...
Fiat 124 Spider Terpilih Sebagai… Gay Car Of The Year?
0
Comments

Fiat 124 Spider Terpilih Sebagai… Gay Car Of The Year?

AutonetMagz.com – Adalah Ledorga, pencetus titel atau gelar European Gay Car of The Year yang sudah berjalan sejak tahun 2005, dan meski kedengarannya konyol, tapi jangan salah, award ini benar-benar ada. Belum lama ini, mereka mengumumkan mobil apa yang berhak menang sebagai 2017 European Gay Car of the Year, dan pemenangnya adalah sebuah roadst...