
AutonetMagz.com – Bukan rahasia lagi kalau Mazda tengah bermeditasi di dalam dojo-nya untuk mengusahakan yang terbaik bagi RX-Vision Concept supaya bisa masuk ke jalur produksi dengan inovasi mutakhir mesin rotary yang jadi ciri khas Mazda. Disiapkan menjadi penerus RX-7 dan RX-8, RX Vision akan mengusung mesin rotary baru yang konon dinamai SkyActiv-R dan diklaim bisa menghapus dosa mesin rotary lama yang torsinya kecil, boros BBM, emisi kotor dan tidak reliable.

Tapi belum lama ini, di Amerika Serikat terdeteksi sebuah paten yang diklaim menggambarkan rancang bangun mesin rotary baru milik Mazda sudah didaftarkan di sana. Bertajuk SkyActiv-R, mesin ini terlihat punya rancangan yang agak beda dibanding mesin rotary Renesis 13B-MSP milik RX-8 lawas, salah satunya karena mesin rotary ini pakai turbo. Nah, berarti sudah ketahuan satu formulanya, dan ini bukan lelucon April Mop, karena didaftarkan tanggal 24 Maret 2016.

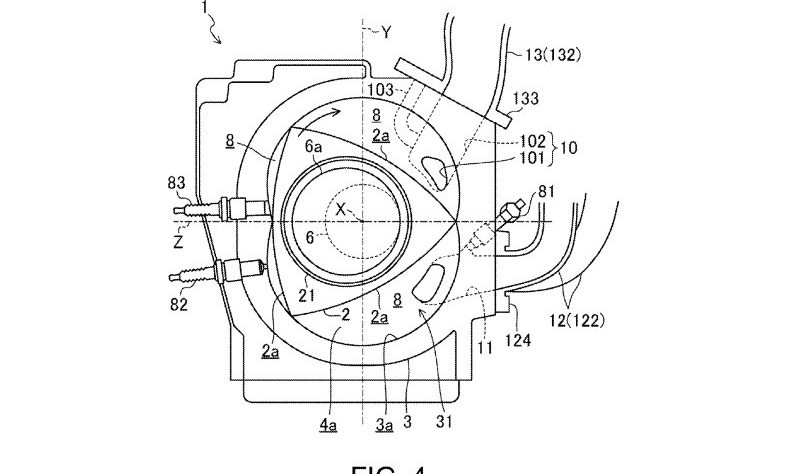
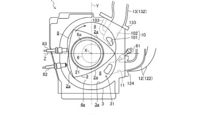
Akan saya jelaskan bagian-bagian dari rancangan ini. Kalau dulu, mesin rotary punya jalur intake di atas dan exhaust di bawah, sekarang kebalikannya, jalur exhaust di atas dan intake di bawah. Kenapa? Karena turbonya terletak di atas, dan dengan menempatkan jalur exhaust di atas, pipa exhaust menuju turbo bisa makin pendek, dan pipa pendek berarti minim pressure loss saat gas mengalir dari exhaust ke turbo, sehingga turbo dapat makin banyak gas sehingga bisa beputar lebih cepat.
Dan dengan dimensi intake manifold yang cukup panjang, intakenya disebutkan masih bisa mengantarkan udara dengan baik. Diklaim, rahasianya karena adanya common passage (saluran normal) dan independent passage (saluran independen) yang menurut Mazda adalah usaha “dalam mempertahankan efek dinamis induksi udara paksa yang disebabkan efek inersia.”

Berikutnya, tentang exhaust manifoldnya, yang disebutkan, “memiliki saluran independen dan manifold normal. Panjang jalur pembuangan menjadi relatif singkat, dan dengan demikian, tahanan saluran di jalur gas buang bagian dapat menurun.” Melihat jumlah pipa-pipanya, diklaim ini mesin twin rotor seperti RX-8 dan RX-7, bukan 3 rotor seperti Eunos Cosmo atau 4 rotor seperti 787B.
Sementara itu dulu yang bisa kita tahu mengenai mesin ini. Soal hybrid atau tidak, single turbo atau twin turbo, lalu berapa kapasitas mesinnya, belum ada yang tahu pasti. Namun yang jelas, mesin ini pasti dinantikan, karena kita harus tahu seperti apa mesin rotary yang dijanjikan Mazda lebih bertenaga dan efisien dari yang lama. Apa opinimu? Sampaikan di kolom komentar!
Read Next: Tes Tabrak Asean NCAP Honda BR-V Torehkan Hasil 5 Bintang








