AutonetMagz.com – Hanya ada satu mobil Honda di tahun 2018 ini yang pakai lencana Type R, dan itu adalah Civic Type R. Kalau Honda punya niat yang kuat untuk memperkuat citra Type R, maka mereka harus menggodok mobil lain untuk dibuatkan versi Type R-nya. Mungkin bukan Accord, bukan juga Jazz, meski kami takkan menolak jika ada reinkarnasi Accord Euro R atau muncul Jazz Type R. Honda membidik NSX untuk dibuatkan Type R-nya.

Sebagai upaya untuk membangkitkan kembali sosok Honda NSX-R sebagai versi Type R dari NSX, Honda sepertinya sudah mematenkan beberapa teknologi baru. Kantor Paten dan Merek Dagang yang mendapat pendaftaran paten teknologi Honda ini menampilkan desain air intake baru pada sebuah Honda NSX. Patennya masuk tanggal 28 Juni 2016, tapi baru diterbitkan untuk umum pada tanggal 28 Desember 2017. Ya, selisih 1,5 tahun.

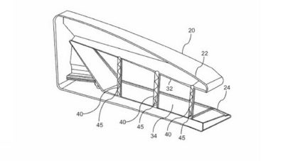
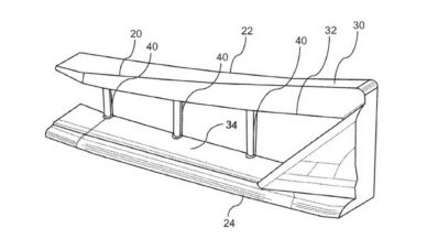
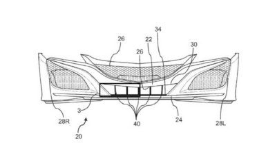
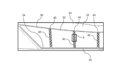
Dalam gambar paten yang terdaftar, Honda akan membuat crossbar (strukur batang silang) yang terintegrasi dengan desain air dam. Menurut mereka, ini akan memberikan front fascia yang lebih rigid buat sebuah mobil tanpa mengorbankan aliran udara. Secara bentuk, bagian ini terlihat berbeda dari air intake lainnya di pasaran. Honda akan membuat crossbar ini punya sifat yang beda tergantung posisinya.

Crossbar ini bisa kuat dan solid, dan Honda bilang mereka menggunakan teknik ribbing supaya bobot tiap komponen makin enteng dan membuat udara mengalir lebih lancar. Alternatif lain adalah, crossbar ini tidak perlu mendominasi fascia depan mobil. Terlihat di gambar bumper ini, ada bagian yang berdiri tegak di gril bawah bumper yang mirip milik Honda NSX. Di situlah salah satu kemungkinan pemakaian crossbar ini.

Selain itu, ada rumor bahwa Honda NSX-R akan lebih ringan dengan menanggalkan motor listrik depannya. Mungkin karena absennya motor listrik di bagian depan, Honda mematenkan air intake ini demi menggali potensi NSX. FYI, NSX baru memang berat, tapi penasaran sejauh mana Honda bisa menjadikan NSX-R baru lebih ringan dan berbeda dibanding NSX biasa. Apa opinimu? Sampaikan di kolom komentar!
Read Next: Presiden Turkmenistan Haramkan Mobil Warna Hitam, Kenapa?









