AutonetMagz.com – Zamannya berlomba-lomba dan bersaing untuk memiliki teknologi tercanggih untuk disematkan di mobil-mobilnya, kali ini Ford sudah mendaftarkan hak paten di Amerika Serikat untuk sistem ciptaannya yang disebut ‘Non-Autonomous Steering Modes’. Sistem ini akan memungkinkan mobil-mobil otonom untuk dikemudikan melalui smartphone. Terasa seperti game Racing, tapi untuk mobil-mobil di dunia nyata. Apa rasanya ya?

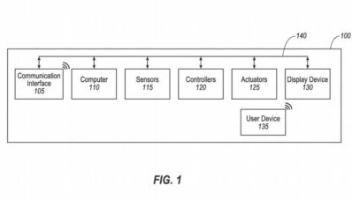
Pertama kali diketahui oleh carbuzz, paten Ford ini memungkinkan kendaraan dikontrol melalui sensor akselerometer dan sensor giroskop yang ada di sebagian besar smartphone jaman now. Sistem yang sama pun digunakan untuk mengendalikan mobil dalam video games. Tetapi untuk sekarang ini, mungkin belum bisa direalisasikan di mobil-mobil di dunia nyata – mungkin kalian sendiri juga tahu alasannya apa. Teknologi yang dipatenkan oleh Ford ini memiliki dua mode dalam sistemnya. Mode pertama membangun koneksi antara smartphone dengan mobil, di mana para pengguna akan diminta untuk menyelaraskan perangkat mereka dengan sudut kemudi kendaraan. Di saat ini pula, pengendara akan menyerahkan kendali penuh atas sistem kemudi.

Setelah itu, akselerometer dan giroskop yang ada di dalam perangkat akan bisa merasakan gerakan, gravitasi, dan di mana perangkat berada, sehingga bisa menyampaikan informasi itu ke sistem di mobil. Mode satunya lagi, yang diuraikan dalam teknologi ini, akan memperlihatkan kemudi virtual yang akan ditambilkan di layar perangkat yang ada. Untuk mengaktifkan mode ini, pengguna akan diminta untuk menyelaraskan kemudi virtual dengan sudut roda depan mobil. Kemudian, pengguna akan bisa mengarahkan mobil hanya dengan jari-jari di atas layar smartphone masing-masing.

Nah, Karena terputusnya koneksi antara pengguna dan komponen fisik kendaraan, semua input akan dieksekusi dengan akuator elektronik. Meskipun teknologi ini sudah dipatenkan, bukan berarti juga kalau mereka bakal segera menggunakannya dalam produksi mobil dalam waktu dekat ini, karena Ford sendiri sudah mengatakan kalau rancangan-rancangan ini hanya dibuat untuk ilustrasi saja. Jadi, setir secara fisik masih akan tetap menjadi komponen utama sejauh ini, walaupun nantinya akan ada mobil otonom. Tentunya masih banyak riset dan pengembangan yang perlu dilakukan lebih dalam mengenai sistem ini hingga layak digunakan di masa depan nantinya.
Jadi, bagaimana menurut kalian, kawan? Yuk sampaikan pendapat kalian.
Read Next: Mercedes-Benz Indonesia Resmikan Dua Showroom Baru



