Mengenal Lebih Jauh Apa Itu Teknologi DiSUS-C dari BYD
0
Comments

Mengenal Lebih Jauh Apa Itu Teknologi DiSUS-C dari BYD

AutonetMagz.com – Saat peluncuran BYD Seal Improvement kemarin (21/5), BYD juga memperkenalkan DiSus-C. Merupakan sebuah teknologi yang dirancang untuk meningkatkan kestabilan dan kenyamanan berkendara. Sistem ini mampu memberikan penyesuaian dinamis dalam hitungan milidetik, sehingga dapat mengoptimalkan dinamika bodi mobil agar sesuai denga...
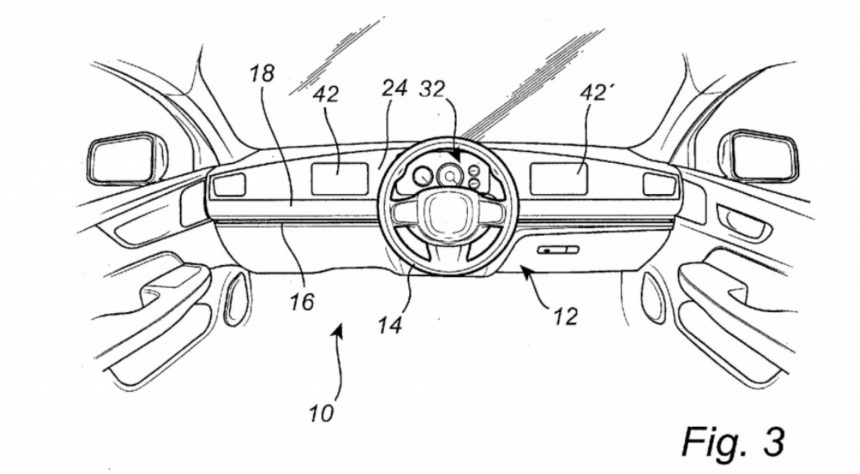
Volvo Patenkan Teknologi Setir Kemudi Bergeser!
0
Comments

Volvo Patenkan Teknologi Setir Kemudi Bergeser!

Autonetmagz.com – Volvo merupakan pabrikan yang dikenal dengan inovasi teknologi keselamatannya, dimana termasuk salah satu yang terbaik di dunia. Namun, kali ini mereka menemukan inovasi yang jauh lebih unik dan bisa menjadi solusi Volvo untuk menghemat biaya produksi mobil right hand maupun left hand drive . Jadi apa inovasi teknologi yang tela...