Honda Kembangkan Sistem Pengaman Untuk Orang Yang Tertabrak Mobil
0
Comments

Honda Kembangkan Sistem Pengaman Untuk Orang Yang Tertabrak Mobil

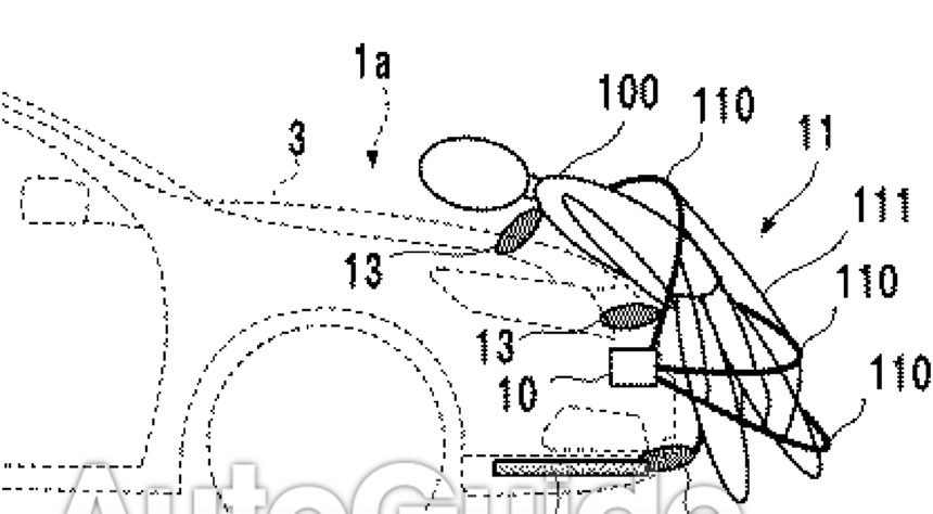
AutonetMagz.com – Bisakah kalian bayangkan kondisi dari orang yang tertabrak mobil secara frontal? Pastinya tidak baik. Yap, tabrakan secara frontal memang akan langsung melukai sang korban, apalagi jikalau sang korban adalah seorang pejalan kaki yang berinteraksi langsung dengan mobil. Nah, Pihak Honda nampaknya mengetahui bahwa fatalnya ef...